NPort 6110
Однопортовый шлюз Ethernet
в RS-232/422/485 ModBus
 |
Однопортовый
шлюз Ethernet в RS-232/422/485 ModBus |
 |
|
|
|
 |
Различные
типы операционных мод для
разнообразных Modbus применений
Для преобразований
протокола Modbus, необходимо
определить Основное (Master) и Ведомое (Slave)
устройство, но в отличие от других
типов Modbus шлюзов, NPort 6110
позволяет назначать Master/Slave
устройства как на Ethernet стороне, так
и на стороне RS-232/422/485.
Дополнительное распределение
адресов (Extra address mapping) и
функциональные параметры
устройства позволяют обеспечивать
настройку так, что большинство
возникающих ситуаций могут быть
точно предопределены.
Windows Utility для
простой установки и мониторинга
трафика
NPort 6110 мощное и очень простое в
использовании устройство.
Интуитивно понятные Windows utility
автоматически найдут все доступные
устройства NPort 6110 в сети. Утилиты
проверки трафика помогут отыскать
любые коммуникационные проблемы
Modbus, как например, состояние статуса
связи, или наличие ошибок
трансляции адресов.
|
Основные
применения
Serial master
устройства могут обмениваться данными с
serial slave устройствами через Internet
Многие традиционные
последовательные (serial) устройства Modbus
могут обмениваться информацией через
сеть на базе RS-485, но RS-485 сеть
ограничивает максимальное число Modbus
устройств до 32 и в пределах 1.2 km.
Используя шлюз Modbus, Вы можете связать
все устройства Serial Modbus по Ethernet сети. До 8
шлюзов Modbus может быть установлено в
одной управляющей сети, что расширяет
Modbus сети настолько, насколько это
достижимо в TCP/IP сетях.

Ethernet
master устройства могут обмениваться
данными с многими serial slave устройствами
Подключите все Modbus устройства к Ethernet
сети
Главные компьютер и вновь
разрабатываемые программируемые
устройства (PLC) поддерживают Ethernet
интерфейс и работают по протоколу Modbus/TCP.
NPort 6110 - Modbus шлюз необходим для связи
дискретных Serial Modbus устройств с целью
сбора данных и управления. Каждый NPort 6110
поддерживает протокол Modbus/TCP по Ethernet и
допускают подключать до 7 устройств.
Программно выбираемый последовательный
порт поддерживает или RS-232 или RS-422/485. В
RS-232/422 режиме, NPort 6110 может обеспечить
подключение одного устройства с
последовательным интерфейсом. Один NPort
6110 может обеспечить подключение до 31
устройства с последовательным
интерфейсом при использовании RS-485,
которые сегодня самые популярные при
автоматизации заводов и фабрик.

Serial
master устройства могут обмениваться
данными с многими Ethernet slave устройствами
Подключение Serial Master
устройств к Ethernet Slave устройствам
Большинство интеллектуальных панелей
управления (HMI) используют
последовательный интерфейс и требуют
сопряжения с распределенными системами
управления (DCS). Тем не менее, сегодня все
больше и больше таких систем (DCS) уже
работают по Ethernet и поддерживают
протокол Modbus/TCP. В этом случае, шлюз NPort 6110
Modbus является идеальным решением для
связи HMI с системами управления (DCS) по
Ethernet сети. До 4 slave устройств Modbus/TCP,
поддерживает каждый из NPort 6110.

Простые
в использовании Windows utility
Сконфигурируйте
любой Modbus шлюз в сети
Как только
NPort 6110 будет подключен к Ethernet сети, любой
компьютер, работающий под Windows, на
котором выполняется Modbus Gateway Configurator,
автоматически обнаружит все
установленные шлюзы Modbus и выполнить их
конфигурацию. Поддерживается как DHCP -
автоматическая установка параметров
IP, так и ручная (Manual) установка IP. Такие
дружественные возможности делают NPort 6110
один из наиболее удобных в
использовании Modbus шлюзов в мире.
Онлайновый
мониторинг трафика и ведение журнала
ошибок
Диагностика связи Modbus
осуществляется теперь легко и мгновенно.
Монитор NPort 6110 позволяет Вам проверять
конфигурацию и состояние связи с любого
сетевого компьютера. В то же время,
системный журнал может быть сохранен,
как установочная или сервисная запись.

Мощная и
исчерпывающая установка параметров Modbus
Дополнительно к работе с
большинством устройств, поддерживающих
Modbus, NPort 6110 обеспечивает как основные так
и расширенные коммуникационные
параметры. Например, дополнительно к
общим конфигурациям, с помощью Windows utility,
можно точно настроить Remote Modbus/TCP ID, Initial
Delay Time Adjustment и Character/Message Timeou. В отличие от
текстовой конфигурации устройства,
используемого другими поставщиками, NPort
6110 Windows утилиты упрощают установку и
снижают затраты на обучение
инженерного персонала.

|
Возможности |
|
-
Интеграция Modbus serial и Ethernet устройств
- Modbus/TCP Master устройство поддерживает
до 31 Modbus/ASCII/RTU slave устройств
- Modbus/ASCII/RTU master устройство
поддерживает до4 Modbus/TCP slave устройств
- Простые в использовании Windows utility
для конфигурации через Ethernet
- 10/100M fast Ethernet с автоматическим
распределением IP адресов (DHCP)
- Программно выбираемый RS-232/485/422 порт
- Высокоскоростной доступ - до 230.4
Kbps
|
|
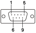
NPort 6110 обозначение
разъема
|
DB9
Male

|
|
Pin
|
RS-232
|
RS-422
|
RS-485(2W)
|
|
1
|
DCD
|
Tx-(A)
|
Data-(A)
|
|
2
|
Rx
|
Tx+(B)
|
Data+(B)
|
|
3
|
Tx
|
Rx+(B)
|
-
|
|
4
|
DTR
|
Rx-(A)
|
-
|
|
5
|
GND
|
GND
|
GND
|
|
6
|
DSR
|
RTS-(A)
|
-
|
|
7
|
RTS
|
RTS+(A)
|
-
|
|
8
|
CTS
|
CTS+(B)
|
-
|
|
9
|
----
|
CTS-(A)
|
-
|
|
Размеры

|
|